Abstrakcyjny
Średni i wytrzymały proces kucia kołnierza samochodowego i jego kompozytowa forma korekcyjna, należąca do technologii przetwarzania kucia w dziedzinie produkcji mechanicznej, zwłaszcza zamkniętego procesu kucia kołnierza samochodowego i kompozytowej formy korekcji. Niniejszy wynalazek pokonuje problemy słabej jakości kucia, wielu procesów produkcyjnych i niskiego wykorzystania materiałów w pierwotnym procesie produkcyjnym. Zamknięta końcowa forma kucia jest używana do jednorazowego końcowego kształtu, a głowica górnego pręta materiału jest wykonana w wypukłą platformę formy, zmniejszając grubość łączącej skóry. Następnie uderzenie i korekta są zakończone w jednym etapie dedykowanej formy z korekcją wykrukującą. Forma kompozytowa z korektą uderzenia składa się z wypukłej formy korekcyjnej, wklęsłej formy, uderzenia, sprężyny motyla, płyty ciśnieniowej sprężyny, pręta ciągnięcia itp. Morka niniejszego wynalazku ma niskie koszty inwestycyjne, rozsądny i prosty przepływ procesu, dobrej jakości produktu, mała objętość przetwarzania, wysoka produktywność, znacząco obniżanie kosztów produkcji.
Opis
Proces kucia kołnierza ciężarówki ciężkiej i korygowanie kompozytów
Pole techniczne
Niniejszy wynalazek należy do procesu kucia w dziedzinie produkcji mechanicznej, zwłaszcza zamkniętego procesu kucia dla kołnierza motoryzacyjnego i jego kompozytowej formy korekcji wykrawania.
Technologia w tle
Kołnierz jest kluczowym elementem strukturalnym w systemie motoryzacyjnego podwozia. Jest to ważny element łączący, który łączy wałek transmisyjny i tylną oś, odgrywając rolę w łączeniu i transmisji siły. Kształt kucia jest prosty, a waga pojedynczego elementu kucia jest zasadniczo 2-8 kilogramów. Dlatego metody kucia różnych fabryk kucia są różne. Obecnie reprezentatywne procesy produkcyjne kucia kołnierza dla pojazdów użytkowych, zwłaszcza pojazdów średnich i ciężkich w Chinach, obejmują głównie:
Proces produkcji prasy gorącej kucia: Na gorącym wyścigu z tonażem 1600 t lub mniejszym ogólnym okrągłym paskiem paska Light Pier jest oksydowany, powstaje końcowe kucie typu otwartego, a na koniec krawędź jest wycinana. Ten proces produkcyjny ma wysoką wydajność i dobrą jakość kucia, ale wymaga dużej inwestycji, złożonej struktury sprzętu i niskiego wykorzystania materiałów. Ten proces kucia jest szeroko stosowany w dużych państwowych fabrykach kucia w Chinach.
Proces produkcji tarcia naciśnij: Najpierw usuń skórę tlenkową z całkowitego okrągłego paska okrągłego paska na młot powietrza, a następnie końcowe kucie typu otwartego jest tworzone na prasie tarcia o tonażu 1600 t lub mniej, a na koniec pokrój krawędź. Ten proces produkcyjny ma niską inwestycję, prostą strukturę sprzętu, krótki cykl produkcji urządzeń procesowych, ale niską wydajność, niską żywotność pleśni, stosunkowo słabą jakość kucia i niski wskaźnik wykorzystania materiałów. Ten proces kucia jest szeroko stosowany w prywatnych fabrykach kucia w Chinach.
Proces produkcyjny tworzenia młotka: Po pierwsze, cały lekki kęs młotka z tonażem 3T lub mniej jest pozbawiony skóry tlenku, wówczas końcowe kucie powstaje przez otwarcie ostatecznej jamy kucia, a na koniec krawędź jest wycięta. Ten proces produkcyjny ma niską inwestycję, prostą strukturę sprzętu i krótki cykl produkcji urządzeń procesowych, ale jakość odkuwek jest niska, dodatek obróbki odkuwek jest duży, wskaźnik wykorzystania materiału jest niski, a odpady energetyczne są duże.
Proces produkcyjny swobodnego kucia młotka: Po pierwsze, usuń skórę tlenkową z ogólnego lekkiego kęsa na swobodnym młotku kukującym o tonażu 1 t lub mniejszym, a następnie wykup go w formie opon. Ten proces produkcyjny ma niską inwestycję, prostą strukturę sprzętu i krótki cykl produkcji urządzeń procesowych, ale jakość odkuwek jest dość niska, zasiłek obróbki odkuwek jest bardzo duży, wskaźnik wykorzystania materiału jest dość niski, a odpady energetyczne są duże. Istnieje powiązany raport w numerze „Rozwój zarządzania mechanicznego” z lutego 2002 r.
SUmmary z wynalazku
Celem niniejszego wynalazku jest przezwyciężenie problemów słabej jakości kucia, wielu procesów produkcyjnych i niskiego wskaźnika wykorzystania materiałów w pierwotnym procesie produkcyjnym oraz zapewnienie średniego i wytrzymałego procesu kucia kołnierza samochodowego i jego kompozytem z korektą z wysokim wskaźnikiem wykorzystania materiału, niskim kosztem inwestycji w formę, wysokim żywotnością obsługi, dobrego wyczucia wyglądu, małego poopustowania i kilkoma procesami.
Technicznym rozwiązaniem niniejszego wynalazku jest podgrzanie okrągłego paska pustego do wymaganej temperatury do procesu kucia, umieszczenie go na platformie roboczej podstawy matrycy w celu usunięcia skóry tlenku, a następnie wykonanie ostatecznego kucia okrągłego słupka po molo w zamkniętym końcowym matryce. W tym procesie zamknięta część przewodnika zamkniętej końcowej matrycy ma kąt od 3 stopnia do 5 stopni w odniesieniu do kierunku pionowego, głębokość prowadnicy od 15 mm do 25 mm, górna i dolna szczelina po stronie 0. 2 mm do 0. 4 mm. 4 mm, a część dyski odpowiada szkieletowi uformu 1 stopni do 2 stopni do 2 stopni. Dno dolnej wnęki pleśni zamkniętej końcowej matrycy ma górną pręt, a głowa górnej pręta jest wykonana na wypukłą platformę matrycy. Ostateczne kucie zostało zakończone. Temperatura kucia wymagana jest nie niższa niż 750 stopni. Po utworzeniu końcowego kucia do zamkniętej prasy mechanicznej z jednym punktem, w celu wypłukiwania skóry i ciągłego wykonywania korekcji termicznej w wypaczyonej części dysku, procesy wykrukania i korekcji ciepła są stosowane, procesy wykrywania i korekcji ciepła są wykonywane w jednym kroku w klapie kompozytowej.
Złożona forma korekcyjna wykrywania ma wypukłą matrycę, wklęsłą matrycę i uderzenie. Płytka ciśnieniowa sprężynowa nad korygą wypukłą, sprężyna motyla między matrycą wypukłą a płytą do ciśnienia sprężynowego oraz górne siedzisko 6 nad płytą ciśnienia sprężynowego. Punch i płyta ciśnienia sprężynowego są stałe na górnym siedzeniu matrycy, a uderzenie znajduje się w środkowym otworze korygującej matrycy. Parta jest instalowana na wypukłej korygującej matrycy przez otwór górnego siedzenia, łącząc korygowanie wypukły i górnego siedzenia matrycy. Korekta wypukła może poruszać się w górę i w dół w stosunku do górnego siedzenia matrycy pod kierunkiem pręta ciągnięcia. Sprężyna resetowa jest rękawowa między korygą wypukłą a górnym siedziskiem matryc na pręcie ciągniętym, a śmierć wklęsła jest podłączona do dolnego siedzenia matrycy.
Zgodnie z tym procesem wytwarzania kołnierzy proces wykonuje powyższe kroki. Kąt między zamkniętą częścią przewodnika zamkniętej końcowej matrycy końcowej a kierunkiem pionowym wynosi 3 stopnie do 5 stopni, co jest większe niż kąt wnęki formy odpowiadający 1 stopniu do 2 stopnia dla części krążka. Różnica w tych dwóch stopniach zapewnia, że kucie jest łatwe do uformowania. Jednocześnie kąt części przewodnika jest większy niż kąt zanurzenia, który może również unikać zadziorów generowanych przez proces zamkniętego kucia z powrót do powierzchni dysku i składanie. Burr płyną na zewnątrz z powodu dużego kąta przewodnika, zapewniając jakość kucia; Głowa górnego pręta materiałowego jest wykonana w wypukłej platformie formy, dzięki czemu górna pręt z oryginalnego procesu i wypukła platforma w jamie formy w całość, która ma dobrą wytrzymałość formującą, a zatem znacznie zwiększa głębokość wnęki na środku kucia, zmniejsza grubość łączącej skóry i jest sprzyjająca dalej. Zgodnie z konwencjonalnym projektem pierwotnego procesu, wypukła platforma jest pierścieniowa z górnym otworem materiału pośrodku, a w górnym otworze materiałowym znajduje się również górny pręt materiałowy. Ta pierścieniowa struktura z górnym otworem materialnym w środku jest podatna na niewystarczającą wytrzymałość platformy wypukłej i zapaść, zmniejszając żywotność serwisową formy. Ponadto głębokość wnęki pośrodku kucia jest również bardzo mała, co powoduje grubość łączącej skóry grubą i trudną do ciągłego przetwarzania poprzez wykruszanie, zwiększanie kroków i czasu przetwarzania oraz zmniejszenie wydajności. Wybijanie i kalibracja tego procesu są zakończone w jednym etapie formy kompozytowej wykrywania i kalibracji. Ostateczne kucie jest umieszczane na wklęsłej matrycy z kompozytowej formy wykruszania i kalibracji. Górne siedzisko z kompozytowej formy wykruszania i kalibracji porusza się w dół, a wypukła forma kalibracyjna jest wyciśnięta na części krążka. Jednak w tej chwili, ze względu na niewystarczającą siłę i brak deformacji kucia, uderza najpierw uderza otwierającą skórę na środku kucia, co spowoduje deformację, taką jak wypaczanie części dysku. Górne siedzisko nadal się sprowadza w dół. Ponieważ sprężyna motyla jest w stanie sztywnym, gdy jej siła jest mniejsza niż odporność na deformację, płyta ciśnienia sprężyn przeniesie siłę do wypukłej formy kalibracji przez sprężynę motyla. W tym czasie wypukła forma kalibracji koryguje zdeformowane kucie. Gdy grubość części dysku mieści się w teoretycznej wartości projektu i dolnej wartości granicznej, w zakresie w zakresie kompozytowej formy korekcji wykrywania kończy wykrywanie i korektę. Gdy grubość dysku osiągnie górną granicę tolerancji projektowej, odkształcenie sprężyny motyla sprężynowej formy korekcji wykładziny może spełniać siłę deformacji wymaganą dla dysku korekcyjnego i upewnić się, że zamknięta prasa mechaniczna nie doświadcza zablokowania podczas pracy.
Zgodnie z projektem obciążenie robocze sprężyny motyli między uderzeniem korekcyjnym a płytą ciśnienia sprężynowego jest ogólnie zaprojektowana tak, aby była o 20% większa niż ciśnienie korekcji, które można obliczyć na podstawie instrukcji konstrukcyjnej formy. Ze względu na niekontrolowane czynniki w rzeczywistej produkcji grubość dysku może osiągnąć górną granicę projektu, co może powodować wał korbowy zamkniętej prasy mechanicznej jednopunktowej, aby nie przejść w dolnym punkcie fleksji, co powoduje zablokowanie sprzętu. Sprężyna motyla w formie kompozytowej korekcji wykrukania może działać normalnie, gdy grubość dysku mieści się w teoretycznej wartości projektu i dolnej granicy podczas kalibracji. Po osiągnięciu górnego limitu tolerancji projektowej, sprężyna motyla zdeformuje się, umożliwiając zamkniętą mechaniczną prasę mechaniczną w celu ukończenia cyklu ruchu i uniknięcia zablokowania sprzętu.
Odkuwki kołnierza uzyskane w tym procesie mogą bezpośrednio wprowadzać obróbkę cieplną, obróbkę i inne procesy, pomijając wiercenie skóry łączącej i oddzielnego procesu kalibracji, a jakość produktu jest dobra, a dokładność jest wysoka.
Temperatura wymagana do procesu kucia zmienia się nieznacznie w zależności od materiału okrągłego kęsów prętowych, tj. Okrągłej stali i jest ogólnie od 1150 do 1250 stopni. Temperaturę można znaleźć w podręczniku kucia.
Z wyjątkiem początkowej temperatury określonej na podstawie materiału zastosowanego podczas przetwarzania, temperatura na kolejnych etapach powinna spełniać wymagania tego procesu. Gdy sprzęt jest prawidłowo skonfigurowany, proces jest rozsądny, a rytm produkcji jest kompaktowy i płynny, następny proces może spełniać wymagania temperaturowe na końcu poprzedniego procesu bez potrzeby wtórnego ogrzewania.
Przepływ procesu jest następujący:
1. Cięcie materiału;
2. Ogrzewanie;
3. Formowanie końcowe, umieszczając okrągły pręt pusty po usunięciu skóry tlenku z Light Pier w zamkniętej końcowej matrycy do tworzenia;
4. Korekta uderzenia, wybijanie kucającej skóry i ciągłe korygowanie części dysku;
5. Kontrola.
Główne wskaźniki techniczne i ekonomiczne niniejszego wynalazku to:
Proces ten ma niską inwestycję, wysoką wydajność, dobrą jakość kucia, długą żywotność pleśni i eliminuje późniejszy proces wiercenia. Nadaje się do produkcji różnych rodzajów odkuwek kołnierza ciężarówek.
1. Jakość precyzji i wyglądu odkuwek kołnierza spełniająca lub przekraczają wymagania GB12362;
2. Wskaźnik wykorzystania materiałów: 97-99%, czyli około 85-90% procesu produkcji naciśnięcia gorącego kucia i oszczędza około 10% materiałów. Na przykład wytwarzanie 1 miliona sztuk różnych kołnierzy rocznie oszczędza 600 tu stali i jest warte prawie 3 milionów juanów;
3. Żywotność pleśni: żywotność zamkniętej formy blokowej wynosi od 10000 do 12000 sztuk;
4. Koszt zamówień modułów: Pojedynczy zestaw pleśni wkładki ma około 1,5 tony lżejsze niż ogólna masa pleśni. Opracowanie 20 nowych kołnierzy produktów rocznie oszczędza 30 ton materiałów stalowych o wartości ponad 600000 juanów.
Ze względu na przyjęcie procesu produkcyjnego bez flashowania pleśni blokowej, stała część jamy pleśni jest zintegrowana z górnym prętem materiałowym dolnej formy, a procesy wykłaniania i korekcji są przeprowadzane w tym samym zestawie form i sprzętu kompozytowego. Seria pomiarów technicznych oraz odpowiadających form i urządzeń sprawia, że obecny wynalazek ma nie tylko charakterystykę krótkiego cyklu produkcyjnego, rozsądnego i prostego przepływu procesu produkcyjnego oraz łatwego przetwarzania, ale także ma charakterystykę dobrej jakości produktu, dobrej jakości wybaczania, małej objętości objętościowej i wysokiej wydajności. W szczególności koszty wejściowe i wykorzystanie materiału pleśni są znacznie lepsze niż jakikolwiek z pierwotnych procesów kucia kołnierza, jednocześnie eliminując proces obróbki i wiercenia, znacznie zmniejszając koszty produkcji produktu.
Załączony opis obrazu

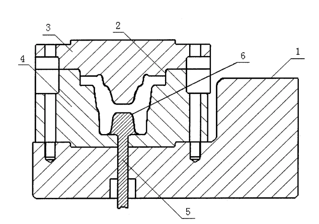
Ryc. 1 jest schematyczny widok przekrojowy zamkniętej końcowej matrycy z niniejszego wynalazku.

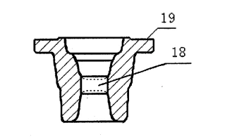
Ryc. 2 jest schematycznym widokiem przekrojowym kucia niniejszego wynalazku.

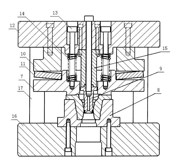
Rycina 3 jest schematem głównego odcinka kompozytowej formy korekcji wykrywania niniejszego wynalazku
Wcielenie
Przykładając kołnierz samochodowy typu 106F w Dongfeng Motor Group Corporation, niniejszy wynalazek zostanie wyjaśniony w odniesieniu do towarzyszących rysunków, jak pokazano na rysunkach 1, 2 i 3. Przepływ procesu kucia kucia kołnierza jest następujący:
1. Cięcie: maszyna piła pasma GB4025C służy do cięcia okrągłej stali o średnicy 85 i długości 163 ± 1 mm;
Ze względu na zastosowany proces kucia bez flash, proces ten ma ścisłe wymagania dotyczące jakości cięcia. Długość cięcia okrągłego słupka ślepa musi być ściśle kontrolowana, a płaskość twarzy końcowej powinna być również ściśle kontrolowana. Aby zapobiec umieszczeniu okrągłego pustego paska w jamie kucia, co powoduje niepełne kucie i lokalne burr.
2. Ogrzewanie: KGPS 300-1 Piec ogrzewania indukcji średniej częstotliwości służy do podgrzewania okrągłego paska pustego do wymaganej temperatury do procesu kucia;
3. Blok Zamknięty typ typu Formowanie Non Flash: A 16 0 0 prasa tarcia jest używana do lekkiego usuwania skóry tlenku z podgrzewanego okrągłego paska na platformie roboczej podstawy 1, a następnie okrągły pręt po pustym molo, po molo, który jest ostatecznie wypuszczony w zamkniętej końcowej matrycy. Zamknięta końcowa matryca przyjmuje strukturę matrycy blokowej i uniwersalne połączenie podstawy matrycy, a ostateczna jama kucia jest przekształcana w zamkniętą strukturę. Kąt między zamkniętym przewodnikiem 2 a kierunkiem pionowym wynosi 3 stopnie do 5 stopni, co jest traktowane jako 5 stopni w tym przykładzie, a głębokość prowadzenia wynosi od 15 mm do 25 mm. Ta głębokość może zapewnić jakość formowania podczas procesu nie kształtującego lampy błyskowej i zaoszczędzić koszty produkcji pleśni. Gdy część dysku 19 jest względnie, gdy głębokość przewodnia jest niewielka, można podjąć mniejszą wartość, w przeciwnym razie można podjąć większą wartość. Przeświadczenie między górnymi i dolnymi pleśnią zamkniętego przewodnika Część 2 wynosi 0. 2 mm do 0,4 mm wokół górnej formy 3 i dolnej formy 4. W tym przykładzie wzięto 0,2 mm, a ten prześwig jest wykonany przez górną formę 3. Kąk ciągnięcia wnęki formy odpowiadającej części dysk 19 wokół obwodu do 2 stopnia, a w tym przykładzie jest to, że jest to 1,5 stopnia. Dno wnęki formy dolnej formy 4 ma górny pręt materiałowy 5, a głowica górnego pręta materiałowego 5 jest wykonany w wypukłej platformie 6 formy, czyli górnej pręta materiału 5 i wypukłej platformy zaprojektowanej przez oryginalny proces konwencjonalny projekt jest wykonany w całej strukturze. Ta struktura może skutecznie zapewnić wytrzymałość wypukłej części formy, dzięki czemu część wypukła może być zaprojektowana wyżej w konstrukcji formy, a łącząca skóra 18 kucia może być cieńsza, a następnie wykładzenie można wykonać. Zmniejsz siłę uderzenia. Projekt kąt wypukłej platformy 6 jest ogólnie większy niż 5 stopni, a górna powierzchnia wypukłej platformy 6 jest sferyczna lub podobna, co jest korzystne dla tworzenia tworzenia i łatwe do demolowania. Ryc. 2 jest przekrojowym widokiem wykupu niniejszego wynalazku, w którym linia przerywana reprezentuje skórę łączącą 18 przed zakończeniem. Na końcu końcowego procesu kucia wymagane jest, aby temperatura kucia nie była niższa niż 750 stopni przed przejściem do korekty wykruszonej. Wyżej wymienione części obejmujące wymiary i kąty można wybrać w zakresie wartości na podstawie wielkości i wymagań dokładności kucia.
4. Korekta uderzenia: JA 33-500 T Zamknięte pojedynczy punkt mechaniczny i dedykowana forma korekcji wykrukania kompozytowa jest używana do procesu korekcji. Ze względu na charakterystykę struktury korbowej prasy mechanicznej sprzęt ten zasadniczo nie jest używany w branży kucia do ukończenia procesu korekcji. Używamy jednak sprężyn motylkowych do przekazywania ciśnienia korekcyjnego w kompozytowej formie korekcji wykrukania, która może zapewnić wystarczające ciśnienie korekcji, aby skorygować zdeformowane odkuwki i uniknąć zablokowania sprzętu podczas korekcji. Forma kompozytowa z korekcją wykrywania ma korekcję wypukłej die 7, wklęsłą die 8 i uderzenie 9. Jest płytka ciśnienia sprężynowego 10 nad korektą wypukłą 7, sprężyna motyla 11 między korygującą die 7 a płytą ciśnienia sprężyny 10, a górne siedzenie matrycy 12 nad płytą ciśnieniową sprężynową 10. Płyta 9. Płyta 9 i sprężyna 10 jest instalowana stale na górnym siedzeniu 6, a pucha na ciśnienie sprężyny znajduje się w środkowym miejscu w środkowym miejscu w środkowym otworze. wypukły die 7. Pull pręt 13 jest zainstalowany na korekcie wypukającej Die 7 przez otwór górnego siedzenia 6, łącząc korekcję wypukłej Die 7 i górne siedzenie 6. Korekcja wypukła 7 może poruszać się w górę i w dół, w stosunku do górnego siedzenia matrycy 12 pod przewodnictwem pręta pobierania 13. Istnieje resetowa rękaw między korygą 7 i górną siedzibę uciskową 13. i dolne siedzenie 16 są połączone. Sprężyna resetowa 14 przyjmuje cylindryczną sprężynę spirala, aby upewnić się, że po zakończeniu korekcji uderzenia górne siedzisko 12 napędza uderzenie 9, aby oddzielić od kucia podczas uderzenia powrotnego, siła sprężystej sprężyny Reset 14 jest nieco mniejsza niż siła uderzenia, o ile może przezwyciężyć siłę tarcia. Siła wykruszenia można obliczyć na podstawie podręcznika projektu formy. Ze względu na fakt, że Punch 13 jest wrażliwym komponentem, Punch 9 może być wykonany w formie modułowej. Między górną a górną częścią stawu 12 jest siedzisko 15, a najnowocześniejsza krawędź Punch 9 może być wykonana z konwencjonalnego materiału z nakładki. Aby zapewnić dokładność przewodnika korekcji uderzenia, dolna część pleśni 16 jest zaprojektowana z kolumną prowadzącej 17, a odpowiadające mu siedzenie górnego formy 12 jest wyposażone w rękaw przewodnika w kolumnie prowadzącej 17, aby zapewnić dokładność podczas pracy w górę i w dół. Techniczne punkty Punch 9, Kolumna Guida 17 i wspomniane powyżej rękawy przewodnika są przeprowadzane zgodnie z konwencjonalnymi specyfikacjami projektowymi. Górne siedzisko 12 i dolne siedzenie matrycowe 16 formy kompozytowej korekcji wykładziny są odpowiednio podłączone do górnego suwaka i dolnej podkładki zamkniętej mechanicznej prasy mechanicznej. Na rycinie 3 Punch 9 już otworzył łączącą skórę 18 i poprawił część dysk 19.
5. Kontrola: Sprawdź wymiary geometryczne i jakość powierzchni kucia zgodnie z rysunkiem kucia.
Po ukończeniu wszystkich procesów kucia wchodzi w procesy takie jak obróbka cieplna, testy nieniszczące i obróbka.
W procesie projektowania i kształtowania pleśni, z wyjątkiem specjalnych wymogów wymienionych powyżej, inne procedury należy przeprowadzać zgodnie z konwencjonalnymi specyfikacjami projektowymi, a połączenie między pleśnią a sprzętem należy przeprowadzić zgodnie z konwencjonalnymi procedurami.
2025 2 marcaTydzień WBM Zalecenie produktu:
Wysokie chromowane kulki stalowe:
G5, G10, G16 Nasza Chrome Ball zwykle produkuje zgodnie z GBT 308. 1-2013 i ISO 3290-1: 2014. Twardość zostanie dostosowana do twoich wymagań.
https://www.bearingroller.com/rolling-elements/steel-ball/high-chrome-steel-balls.html

